ABOUT MARINE TURBINE TECHNOLOGIES
TURBINE ENGINE INNOVATION
MTT is a design, engineering and manufacturing company. We specialize in the packaging of gas turbine engines for unique industrial applications. All of the MTT products involve a gas turbine engine that generates mechanical energy to drive the turbine’s output shaft. The output shaft then becomes the power source for another shaft, pump, generator, propeller or anything that requires mechanical energy to complete an industrial process.
MTT is by Ted McIntyre II, founder and C.E.O. MTT has completed more diverse, custom turbine engine packaged solutions than any company in the world. These projects involve in-house engineering, production, test and aftermarket service. MTT is also adept at rapid prototyping. We do so for our own projects in addition to teaming with customers to bring their projects to life.
MTT is located in Southern Louisiana. Our 100,000 sq. ft. facility houses MTT’s corporate offices, manufacturing and test. The shop floor consists of turbine engine refurbishing, dyno test, package fabrication, machining, welding, production, carbon fiber molding, painting, finishing, electrical, electronics, digital controls, CAD engineering and test of our products destined for land and offshore. MTT upholds quality control by handling all aspects of production from start to finish and we service what we sell.
MTT’s machine shop consists of CNC lathes, CNC mills, gear hobs, shapers, water-jet, shears, metal saws, presses, grinders and numerous other manual and automated machines.
WHAT DOES MTT DESIGN AND BUILD?
MTT designs and builds unique turbine-powered packages.We later began to manufacture high volume fire fighting packages for offshore vessels. This led to flood control and water transfer units.
Turbine-powered, fire fighting airboats were a natural extension of the technology. MTT specializes in propulsion system drive lines and we have built many variants of all sizes.
Turbine cars and trucks were being built along the way. They are treated as special projects although MTT is capable of large production runs if there is a strong business case.
MTT has worked with the government on private military contracts such as for a turbine outboard engine and a Seal Delivery Vessel.
Under a long term exclusive contract MTT then began to commercialize our turbine powered frac equipment for which we hold all the Intellectual Property. Under the agreement we also commercialized our other oil and gas innovations which included blenders, nitrogen pumpers, double pumpers and field gas turbine fuel systems.
Power generation became a requirement and under a seperate exclusive contract MTT began manufacturing 1 MW turbine-based power generation packages. Under the agreement we produced numerous packages and provided field support. These packages were designed for unmanned, remote operations and provide power for Electric Submersible Pumps in the oilfields.
Most recently there has been a big push for inland airboats for plug and abandonment of old wells, pipeline work, utility and general service work in environmentally sensitive marshlands. MTT is adept at marine propulsion systems and have designed a dual engine package at 1,500 HP x 2 for a workboat that is capable of housing all manners of heavy equipment when work is required for difficult, inland waters. The hull can be greatly expanded when 4,000 HP x 2 is needed for super heavy work.
TURBINE ENGINE DOMINANCE
Turbine engines have a power-to-weight ratio that is without equal. For example, the turbine used in the MTT Y2K Superbike produces 420 HP but weighs only 160 lbs. Our 1,400 HP turbine weighs 680 lbs. compared to its diesel counterpart weighing between 8,000 and 10,000 lbs. MTT’s larger turbines produce 3,850 HP but weigh only 800 lbs.
A smaller powerhouse translates to a smaller footprint with less deck space required in a typical pump installation such as on a boat or offshore platform. Turbines are also extremely fuel tolerant. They prefer diesel, kerosene and jet fuels but will run on any bio fuel or natural gas. MTT builds many packages fueled by natural gas whether field gas straight from the wellhead, CNG, LNG or pipeline sale gas. We also build dual fuel systems so that you can run 100% on gas or 100% on liquid at the flip of a switch.
TURBINES DEFINED
MTT uses “power turbines” in our packages. Instead of using thrust for propulsion as in jet engines, power turbines have output shafts which are coupled to driveline components. Power turbines are used in turbo-prop aircraft and helicopters and they generally are the types of engines that MTT refurbishes for our packages.
By definition, a turbine is an engine turned by the force of expanding gas (i.e. hot, energized air) on fan blades (turbine wheels). The concept is simple: Fuel is atomized in a combustion chamber located in front of the turbine wheels which are spooled up by an electric or hydraulic starter. Upon ignition, gas emitted from the combustion process expands, causing the fan blades to spin and produce incredible power in the form of either thrust or shaft horsepower. MTT couples to the shaft horsepower to drive a process application.
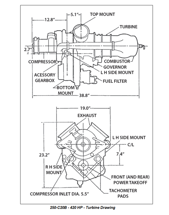
MTT generally uses a 3,850 HP turbine, two versions of a 1,400 HP turbine, and a 420 HP turbine. These engines cover the bases for the types of equipment we build.
TURBINE VEHICLE HISTORY
Gas turbines have a long and interesting history:
1928: Opel’s RAK 1 ran up to 47-mph for a few seconds before they called the project off.
1945: WWII was over and the spirit of the jet age was everywhere. Car manufacturers intended to make the jet car the vehicle of the future.
1950: While GM was inspired by tomorrow’s fighters, the British company Rover recreated yesterday’s bombers. The Jet 1 was not aesthetically pleasing but it was the world’s first gas turbine car and was tested up to 152-mph. GM saw their future in the sky and set out to produce jet fighters that ran on the ground. In Firebird I, steering, acceleration and braking were all controlled using a single joystick. It traveled 230-mph.
1954: Fiat releases La Turbina, a streamlined coupe with huge fins, jet-fighter exhaust and a racing paint scheme. Its 200-bhp powerplant pushed it to 155-mph using a combination of wheel drive and jet thrust. Chrysler took a more practical approach by installing a turbine in a standard 1954 Plymouth which confused people with its whistling and roaring sounds.
1956: GM’s Firebird II was futuristic in both appearance and design. The Firebird II could be driven hands-free by an automatic guidance system. The central stick would fold away, locking into a signal from a strip in the road, and the cones in the front jet scoops would align the car with the strip.
1958: Wildest of all was the Firebird III with nine fins and twin bubble canopies. It had an automatic guidance system and single-stick control as well. It also had power gull wing doors, a trunk floor that could be raised for easy loading and a small piston engine to run all the accessories.
1961: As a response to the innovative ideas coming out of GM, Chrysler produced the Turboflite. In addition to a jet turbine engine, the Turboflite had a wrap-around windshield attached to the roof. When a door was opened the entire top, including the windshield, raised automatically and pivoted at its hinged rear edge. Side windows were hinged at the roof and swung out as the top lifted.
1998: MTT creates the RetroROCKET. Equipped with automatic transmission, power steering, air conditioning, power brakes, power electric windows, cruise control and more, this truck is capable of traveling over 600-miles without re-fueling.
2000: The year 2000 is greeted by the introduction of the Y2K Jet Bike, predecessor to the MTT Turbine Superbike, the world’s first turbine-powered motorcycle produced by MTT. Powered by an Allison-Rolls Royce engine, the bike features SmartStart ignition, full-color flat screen digital dash, forward-and rear-seeking radar detector with laser scrambler and more. MTT then develops a turbine-powered hybrid vehicle. The rest is history…
Jean Lafitte Project – Remediation of Marsh Buggy Damage to Wetlands – Case Study 2 – MTT SOLUTIONS
By Ted McIntyre II – CEO and Owner – Marine Turbine Technologies, LLC – Franklin, Louisiana With the recent success of our land bank mitigation projects, the local Louisiana utility (Entergy) called MTT about a new project in the Jean Lafitte Wildlife Refuge. ...
Excavation of Levees for a Land Bank Mitigation Project – Case Study 1 – MTT SOLUTIONS
2016 was busy for MTT’s twin engine Super Turbine Airboat. Among other things we were contracted to excavate levees surrounding a land bank for a large mitigation project in Louisiana. This project had started two years ago with dredging in Lake Borgne east of New...
MTT Develops Turbine Technology to Save Louisiana’s Eroding Coast – MTT SOLUTIONS
Marine Turbine Technologies in Franklin, Louisiana has developed a state-of-the-art Super Turbine Airboat which does not harm the fragile ecosystem of our state like traditional marshland transport equipment. The MTT Turbine Airboat skims across water and land...
420RR and 3 Wheeled Trike Superbikes – MTT MOTORCYCLES
Check out the Video on our latest 420RR (Race Ready) and 3 Wheeled Trike Turbine Superbikes.
Y2K Superbike Video – MTT MOTORCYCLES
Check out the MTT Y2K Superbike Video.
Super Airboat Video – MTT SOLUTIONS
Check out MTT’s video on the Super Airboat.
Historic Cuba Powerboat Rally Provides an Adventure of a Lifetime
Ted McIntyre and his crew featured on speedonthewater.com for participating in this year's historic Cuba Powerboat Rally. From speedonthewater.com... "Expecting nothing less, members of the Florida Powerboat Club were treated to the adventure of a lifetime as...
1MW and 2.5MW Distributed Turbine Power Generation – MTT SOLUTIONS
Distributed turbine power generation is the alternative to grid power. With distributed turbine power generation the electrical power package is brought to a customer site versus reliance on grid power. MTT is a manufacturer of 1MW and 2.5MW turbine power generation...
Flood Control and FiFi Fire Fighting with Turbines – MTT SOLUTIONS
MTT is the premier provider of turbine powered FiFi fire fighting packages used by offshore vessels in the Gulf of Mexico and throughout the world. The MTT turbine powered FiFi fire fighting packages have a water flow volume range between 5,285 Gallons per Minute...
Turbine Powered Airboats for Sensitive Wetland Work – MTT SOLUTIONS
MTT is the innovative leader of turbine powered airboat technology. These turbine powered airboats are specifically designed to operate in sensitive coastal wetlands that suffer destruction from marsh buggies and are otherwise inaccessible to conventional watercraft....








